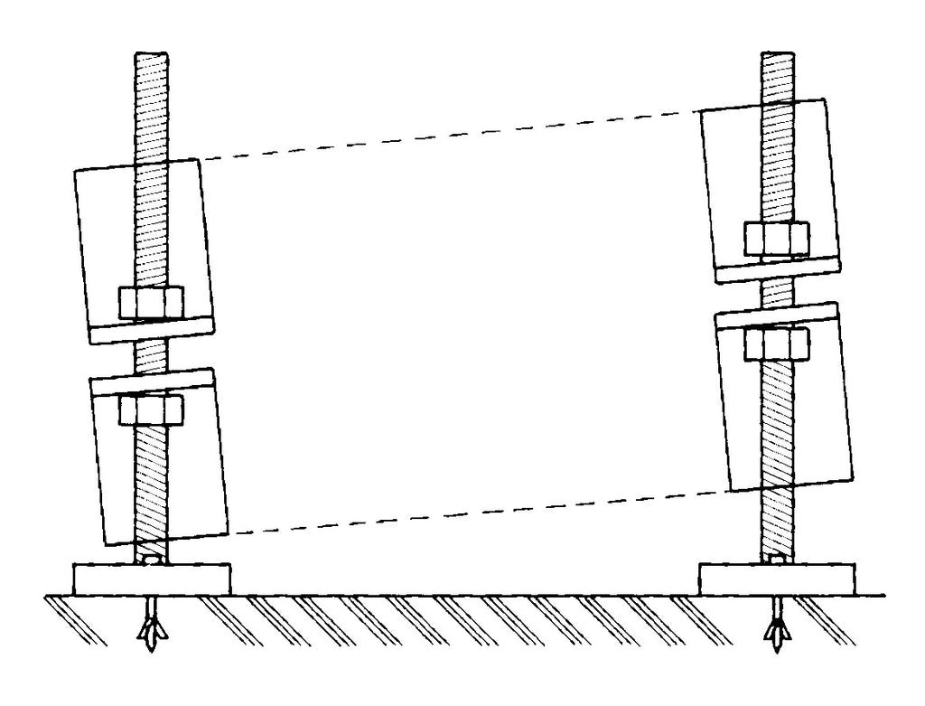
●メーカー…アカギ
●型番…A15956-0088
●径称…65A
●適合管外径…76.3mm
●スライド範囲…47〜110mm
●材質…ステンレス(SUS304)
●取付穴径…5×7mm
●排水管(SGP、VP)のレベル調整用
●全高…120mm
●全ねじの取替可能
●型番…A15956-0088
●径称…65A
●適合管外径…76.3mm
●スライド範囲…47〜110mm
●材質…ステンレス(SUS304)
●取付穴径…5×7mm
●排水管(SGP、VP)のレベル調整用
●全高…120mm
●全ねじの取替可能





